LOADING IMAGES

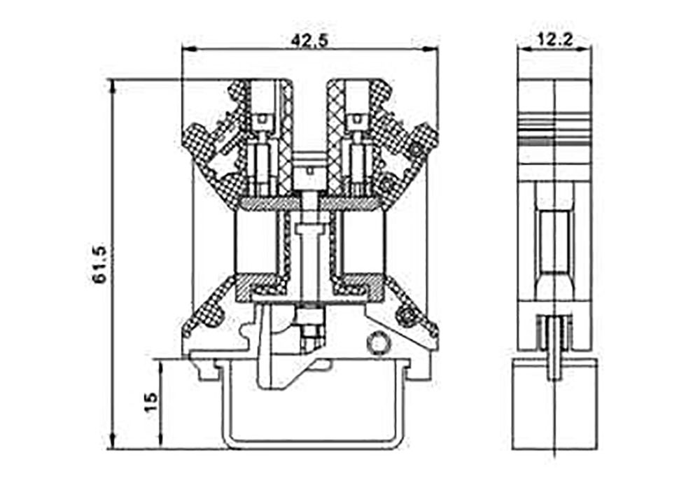
型号:UK-16JD

冲击耐压:8000V
压线范围:26-4AWG
螺钉扭矩:1.5-1.8N.m
螺钉材料:M4,STEEL
端子材料:BRASS
绝缘材料:PA66,V-0
使用温度:-40℃~+120℃
剥线长度:11mm


产品详情

15445857431966077.jpg

Menu

Copyright 2018 宁波天地纳源科技有限公司 浙ICP备19008487号-1 | 技术支持: 乐搜网络

TOP
0574-63861918
qrCode